USB type-c接口有可能成為未來多數筆記本電腦、智能手機的唯一數據接口,但這些僅支持USB接口的設備仍必須與那些非USB接口的設備進行交互,比如顯示器、電視機等。因此,設計人員需要考慮如何在單個連接器中實現USB和其他高速接口的轉換,其中涉及到切換引腳功能、提供諸如ESD的外部瞬變保護以及維護信號質量等問題。USB type-c標準通過定義備用模式(Alt Mode)來滿足這些需求,這種方法能夠動態地更改引腳的功能,從而支持非USB的數據傳輸協議。
本文對各類標準進行了介紹,有了這些標準,USB type-c才能連接到HDMI或其他非USB形式的數據接口。本文中還包含將HDMI備用模式增加到USB Type-C接口時需要考慮的主要問題。
USB規范介紹
HDMI Forum于2016年底發布了USB Type-C備用模式規范,此最新版USB標準共包括以下三個部分:
USB Type-C接口規范
USB Type-C接口規范在我們所熟知的Type-A和Type-B規范基礎上進行了大幅度的修改。對于普通用戶來說,有兩點改動需要注意:
Type-C 接口尺寸為8.3mmx2.5mm,較之USB Type-A和Type-B小了很多,但卻包含24個引腳,之前的版本只有4個引腳。
Type-C接口支持正反逆插,這是因為Type-C接口采用了對稱結構,無論哪一面在上,所有的信號引腳都處在相同的相對位置上。
USB Type-C還可以通過D+/D-和VBUS/GND引腳與傳統的USB 2.0系統進行交互。其引腳布局還包括其他兩個規范中定義的新功能引腳(包括備用模式)。圖1顯示的是Type-C接口標準和備用模式引腳映射。

圖1:顯示備用模式映射的USB Type-C引腳布局
USB Type 3.1規范
USB Type 3.1規范更新了USB的電氣性能,規定數據傳輸速率可達到10Gbps(規范中稱為SuperSpeed+)。此類接口需要兩個專用的高速數據差分引腳對TX和RX,而且供電標準提升至5V/150mA。
USB供電規范
USB供電規范(USB PD)規定了備用模式下的工作方式,能夠支持最高100W的充電功率,并極大地提高了供電能力。當與USB Type-C線纜一起使用時,USB PD允許兩個設備進行雙向充電。根據Type-C配置通道(CC)引腳上的通信,甚至還可以隨時改變充電方向。
盡管這三個規范是相互獨立的,但支持HDMI的USB系統必須同時符合Type-C和USB PD規范。此外,每個重新映射的引腳必須能夠支持其對應的HDMI 1.4協議的數據傳輸速率。
HDMI 1.4數據傳輸速率
HDMI 1.4共有六個以四種不同數據速率運行的數據通道:
HDMI以太網和音頻回傳通道(HEAC):支持100Base-TX(100Mbps)以太網的高速雙向數據通信通道。HEAC包括符合IEC 60958-1標準的流媒體音頻組件。
TMDS(最小化傳輸差分信號):三個用于高速視頻和數據傳輸的差分通道。HDMI 1.4的最大數據吞吐率為10.2Gbps或單通道3.4Gbps。
DDC(顯示數據通道):基于行業標準I2C協議的通信通道,標準速率為100 Kbps,能夠讓源設備識別支持的音頻/視頻格式。
CEC(消費端電子控制):為低速數據通道,允許用戶控制多達15個兼容設備。此數據通道符合CENELEC EN 50157-1規范。
HDMI引腳映射
標準HDMI Type-A接口如圖2所示。圖3顯示的是支持HDMI備用模式的全新USB Type-C接口引腳定義,它將三個TMDS引腳對及其時鐘信號映射到八個USB TX/RX引腳上,兩個SBU引腳連接HEAC通道,CC引腳則用于傳輸低速CEC信號。另外還需注意,D+/D-引腳對并不會受此轉換影響,因此USB 2.0數據通道可以和HDMI和平共處。

圖2:HDMI Type-A接口共有19個引腳,其中有三個高速數據通道用作屏蔽雙絞線

圖3:USB Type-C備用模式接口中HDMI模式下的引腳映射
初始化HDMI備用模式
USB PD規范定義了進入備用模式所需的操作順序。當用戶在兩個USB PD端口之間連接一個主動Type-C線纜時,會在CC通道上執行一系列協商(圖4),來確定是采用USB模式還是備用模式,以及應用哪種備用模式標準,并使用一組特定的供應商定義消息(VDM)來確定要使用的標準。

圖4:當USB PD端口首次識別出另一個USB PD端口的存在時就會進行協商,從而確定采用哪種傳輸協議及數據格式
該協商過程中還涉及其他USB PD功能,比如確定所需的功率級別以及電力傳輸方向,但HDMI操作并不需要這些功能。一旦初始化序列確定了HDMI為所需協議,這兩個端口就會根據需要重新映射引腳,進入HDMI備用模式。
HDMI備用模式架構
若要USB Type-C接口支持HDMI,需要增加哪些硬件組件呢?圖5顯示的是USB PD接口的結構圖,并標出了備用模式的必備組件。請注意,即使應用沒有指定USB PD接口的功率級別,啟用備用模式也需要通過CC線路進行協商,因此必須包含USB PD PHY和PD管理器:
備用模式物理層設備(PHY)接收高端圖形處理單元(GPU)的視頻信息,并對其進行編碼以通過三個TMDS差分數據線路傳輸。
備用模式多路復用器(MUX)支持在HDMI備用模式和USB兩種模式之間進行切換。對于HDMI應用,它將HDMI信號傳輸給相應的Type-C接口引腳;對于USB 3.1應用,它連接的是RX/TX信號,并根據數據傳輸方向進行切換。

圖5:通過USB Type-C接口實現備用模式需要兩個額外的模塊,如圖中綠色部分所示
實際實現方法
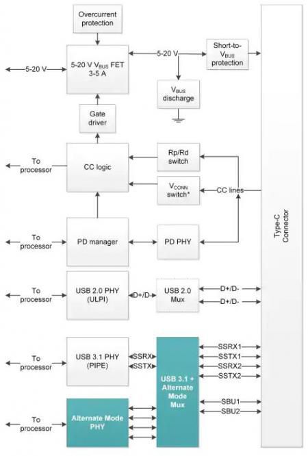
HDMI 備用模式規范是全新的,因此專門為這類應用而設計的芯片組仍然還處于開發階段。不過目前已經推出了DisplayPort備用模式元件,并可與HDMI轉換器配合使用。圖6顯示的是同時支持USB、HDMI備用模式以及完整USB PD規范的USB Type-C端口框圖。

圖6:USB Type-C/HDMI端口框圖
此設計由下面兩款基礎元件構成:
第一款是Texas Instruments的TPS65982獨立式USB Type-C和PD控制器,用于執行以下多項任務:
檢測USB Type-C線纜的插入狀態與插頭方向
協商供電特性,并通過I2C協議將信息傳遞給微控制器單元,從而決定采用哪種操作模式
配置多路復用器的備用模式設置,將USB或HDMI信號傳送給相應的目標設備
在運行期間,TPS65982還會對USB供電路徑進行管理和控制
第二款是Texas Instruments的HD3SS460是一款4x6通道的高速雙向無源多路復用器/解復用器開關,可以在備用模式和USB模式間切換,同時支持接口翻轉。
此外,還有一個視頻轉換器,用于將DisplayPort信號轉換為HDMI格式。
返回列表